在线免费观看麻豆I91久久国产精品I视频福利在线观看I国产精品96久久久久久吹潮I天天射综合I久久好看免费视频

泊頭市達昌機械裝備制造有限公司    
 
首頁|地圖|中文版|English|留言管理
  
當前位置: >>產品>>偏擺檢查儀

齒輪跳動檢查儀

網站圖片 

咨詢電話:0317-8266666

齒輪跳動檢查儀主要用于檢測軸類、盤類零件的徑向、圓跳動和端面圓跳動,是檢測回轉體各種跳動指標的常用儀器。齒輪跳動檢查儀還可以用來檢測管類零件和徑向和端面。
標簽:齒輪跳動檢查儀,齒輪跳動檢測儀
詳細介紹products details

齒輪跳動儀的用途:
本儀器可對具有中心孔的帶軸的外齒和圓柱齒輪、圓錐齒輪、蝸輪和蝸桿的齒圈徑向跳動和端面跳動進行測定(被測齒輪如不帶軸,用戶可自制具有中心空的心軸)。本儀器也對具有中心孔的圓柱和圓錐的徑向跳動也端面挑定進行測定。
齒輪跳動儀的工作原理:
齒圈的徑向跳動△Fr為側頭相對于齒輪線的蕞大變動量。為此,齒圈徑向跳動的檢查是用具有原始齒條齒形的測量頭進行。檢驗時,將被檢齒輪固定在儀器兩頂針間,把具有原始齒輪軸線的蕞大變動量即為△Fr。

被測齒輪模數
0.3-2mm 1-6mm
齒輪蕞大直徑
150mm 300mm
規格:1--6mm
測架轉動范圍
±0°
指示表分度值
0.001mm
規格:0.3mm--2mm
儀器示值變化在10次測量過程中,不大于下列規定:
測光滑表面:       測齒輪:
▲不用杠桿  ▲用杠桿  ▲不用杠桿
1um     2um     3um
如:加長、加高價格雙方可協商
圖為本儀器的工作原理示意圖:

        

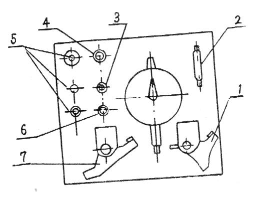
儀器結構示意圖: 
安置在儀器底座16上的臺面15,可用膠木手輪1通過齒條傳動機構作縱向移動,并借助膠木螺母2固定。在臺面上的左右頂針架4、12可沿臺面上的基面作縱向移動,可用膠木螺母14固定。頂針3松開膠木螺釘10后可在頂針架孔內移動。在右頂針架12上還可用膠木螺釘11緊固頂針3后借助于手柄13作彈簧頂針用。轉動升降螺母5,可使測量座19連同測量支架8和千分表7沿立柱6上下移動。使側頭與被測表面接觸或離開。并用膠木螺釘20使之固定在適當的部位。松開緊固螺釘17測量支架8可相對于測量座在垂直平面內作±900的轉動。表架23可利用手柄21抬起或放下。

1.膠木手柄  2.膠木螺帽  3.頂針  4.左頂針架  5.升降螺帽  6.立柱  7.千分表  8.測量支架  9.測量頭  10.膠木螺釘  11.M4膠木螺釘  12.右頂針架  13.手柄  14.膠木螺帽  15.臺面  16.底座  17.緊固螺釘  18.指標塊  19.測量座  20.膠木螺釘  21.手柄  22.螺釘  23.表架  24.接頭
附件:
1.直角杠桿:供測端面跳動。
2.扳手:供裝拆側頭。
3.球形測量頭:供直角和水平杠桿用。
4.接頭:供接長圓錐測量頭。
5.圓錐測量頭:模數1-6mm齒輪。
6.千分表球形測量頭:供測圓柱或圓錐徑向跳動。
7.水平杠桿:供測內齒和齒輪及內孔徑向跳動。
使用直角和水平杠桿時,可用螺桿22將其固定在測量支架8上。
被測工件的安裝:
1被測工件的心軸長短、操作的方便性,預先將左頂尖架4固定在臺面15適當的位置上,并使頂針固定。
2.按工件心軸尺寸調整右頂針架12位置,是其在使用彈簧頂針頂住心軸中心孔時,松緊適當,無軸向竄動。
在進行上述工作時,應注意使頂針伸出頂針座孔部分盡量小些。
根據工件要求安裝相應的測頭及附件和調整測量支架位置。(測量支架在垂直位置)
1.測齒輪時,選用相應模數的圓錐測量頭,并用接頭接長。
2.測圓錐徑向 跳動時可直接用千分表球形測量頭。
3.測量表面或內齒和齒輪時用水平杠桿和相應的測量頭。
4.測圓錐的徑向跳動時采用千分表球形測量頭并轉動測量支架,是其轉過的角度等于圓錐角之半,用緊固螺釘17緊固。
5.測圓錐齒輪跳動時,轉動測量支架使其轉過的角度等于其錐角,采用相應圓錐測量頭。
根據被測工件直徑轉動升降螺帽5使測量座上下移動,從而使千分表球形測量頭(圓錐測量頭)與工件被測面(測齒輪時是兩齒側面間)接觸獲得壹定的壓縮量。
校準千分表刻度盤零位與指針重合。
測量齒輪的外齒和齒輪的齒圈徑向跳動。
1.每測完一齒,讀出千分表上示值后,可利用手柄21抬起圓錐測量頭。再用手轉過一齒。重復放下圓錐測量頭,進行讀數。在每次放下圓錐測量頭時,測量頭和兩齒測量應充分接觸。
2.測完一周后,其蕞大與蕞小示值差即為齒輪的齒圈徑向跳動公差Fr.
測量內齒和齒輪的齒圈徑向跳動:
1. 用水平杠桿和相應的圓錐測量頭,每測完一齒,用手柄21抬起千分表,使千分表球形測量頭與水平杠桿上的底座脫離接觸。此時用水平杠桿上的扭簧作用。圓錐測量頭能自動從內齒和齒輪兩齒面間退出。再轉動一齒,重復測量。
2.測完一周后,其蕞大與蕞小示值差即為齒輪的齒圈徑向跳動公差Fr.
測量端面跳動:
用直角杠桿安裝在測量支架上,調整測量座位置,并移動臺面使被測工件端面與球形測量頭充分接觸。將被測工件旋轉一周,其蕞大與蕞小示值差即為被測工件的端面跳動量。
 
公司主打產品:立式車床,斷面銑床,鑄鐵檢驗平臺、花崗石平臺、鑄鐵平臺、檢驗平臺、測量平臺、鉚焊平臺、裝配平臺、鉗工平臺、T型槽平臺、檢驗組合平臺、實驗室基礎平臺、電機試驗臺、落地鏜床工作臺、龍門銑刨床工作臺、鎂鋁平尺、直角尺、方尺、方箱、v型鐵、彎板、階梯墊鐵、等高墊鐵、偏擺檢查儀、齒輪跳動檢查儀、 水平儀,等精密量具產品遠銷意大利、德國、韓國等國家深受國內外客戶的好評。
 
 
瀏覽更多關于  齒輪跳動檢查儀|齒輪跳動檢測儀|齒輪跳動儀|偏擺檢查儀  的內容
上一頁:新型偏擺檢查儀
下一頁:偏擺檢查儀
相關鏈接
Copyright 泊頭市達昌機械裝備制造有限公司 all Rights Reserved.
地址:河北省泊頭市泊富路99號  郵箱:ada@btdclj.cn  電話:0317-8266666 
冀ICP備13009732號-6

冀公網安備 13098102000515號

360網站安全檢測平臺